Inventions

the Paradis team can list more creative innovation than most big companies!
And there are many more inventions and ideas that did not turn into products yet!

1984 PPPP: the first polyphonic piezo pickup

Rolf met Matthias because they both wanted a polyhonic (hexaphonic, separate string) pickup and since piezo had some obvious advantages, they learned how to build them and soon they sounded more like the string than any other… up to date!


1985 Polysubbass: the first effect with inter string intelligence

it detects the lowest played string
Polybass can be built into or connected to any guitar with a polyhonic (hexaphonic, separate string) pickup. It octaves several strings separately but only adds a discrete in phase octave of one note – a analog bass line!


1986 the first low D fret board extention (with one click thumb operation)

This helps a lot for those who sometimes tune down the lowest string. our version is much easier because the other notes on the neck stay the same!


1988 Avalon: the first headless nylon string guitar

Its much harder to create a headless nylon than steel string. the screw system as Ned Steinberg spread it in the 80ies does not work because the nylon string extends about 5 times more. so Rolf found a way to include standard tuners into the body.


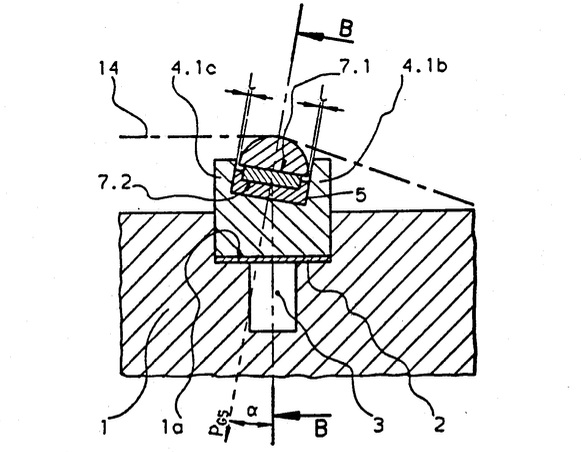
1991 mono rail: the first bridge for bass for individual strings, since common on Ibanez and other instruments
We wanted to optimize the separation between strings on the piezo pickup, so Rolf built a bridge where each string sits directly on the body. when he designed the Ibanez AFR bass, he also used this system and Ibanez patented it together with him and called it MonoRail. now they use it even without piezo pickups!

1992 LOOP delay: the first livelooping tool with a Record and many other functions that so many looping tools use now
Its hard to imagine now that until 1992 there was no tool on the marked which could do the most common Livelooping command: Tap-Play-Tap-Repeat – usually called Record. but the LOOP delay was not only the first tool with this function but it had most functions that later were offered (except multi track, because we did not have the processor power) and many functions that never became copied because all later loopers had a different memory configuration (read more here)

2005 Spuler-Paradis: the first hollow solid body nylon guitar
After Rolf worked as a machine designer for 10 years, he had all the skills to design the entire guitar in 3D (I doubt that anyone else did that in 2005) and this gave him the precision to route precisely enough from the back to make the top sufficiently thin to react similar to a glued together acoustic guitar

2007 Diguit: the only FireWire guitar with built in 12ch audio interface and András Szalay MIDI conversion
This project failed because it apparently was too complex for the users and really, few years later FireWire was completely abolished, so we learned to not build short life electronics into long life instruments. nevertheless the instruments possibilities were amazing:

2016 Upgrade boards for Godin and Yamaha Guitars
our clean and deep sound of the Polybass was 30 years old by then, but new was to create a board that can be placed into existing guitars, without soldering! It was Tom Maiers idea. he wanted to improve the noise of the guitar and found that instead of only improving the preamp, we could also add our favorite effect. and Philipp Scheidegger created the discrete noise free preamp and we redesigned the suboctave effect completely to make a single 9V battery last nearly as long as the preamp did! Then we did the same for a noisy and battery hungry Yamaha Silent

2021 Leslee true bypass pickup switching

In Berlin, I met e-guitar maker Frank Deimel in the Leslee effect invented by his friend Pascal Stoffels. They asked me to develop a next version as a kit for existing guitars. I invented a completely new ultra low power true bypass version with very few components and a special JFET distortion compensation trick – all fed from an onboard supercap! No battery, no preamp in the guitar, just plain passive pickup switching with a great variation of speed.


2024 Ultimate Guitar Connector

For our entire lives we searched for a better universal guitar connector that feeds the guitar (no batteries!), transmits single strings and some controls and audio channels and now we found it! Since the patent of the the swiss high end connectors LEMO ended, they are now affordable for musicians! The main iniciator of this was  Synquanon.